I. Overview of US Stock Index Options
Trading volume in the US stock index options market has declined slightly, the put/call ratio has decreased, and short sellers have somewhat withdrawn.
The volume distribution of S&P 500 index options expiring today shows a divergence between call and put order distributions, with put orders peaking at 6640 points and call orders peaking at 6760 points.
Nasdaq contracts expiring today 100 Index Options Trading Volume Distribution: Call single peak at 25,000, Put single peak at 24,600 points.
II. US Stock Options Trading Volume Ranking
1. Netflix The stock fell 10.07% in the previous trading day. The put/call ratio declined slightly the day before, while trading volume increased, indicating active long positions.
Looking at the put orders expiring this Friday, many have seen price increases of over 200%.

Observe the large orders with unusual activity in options trading. Before the market closes, large investors are mainly bearish.

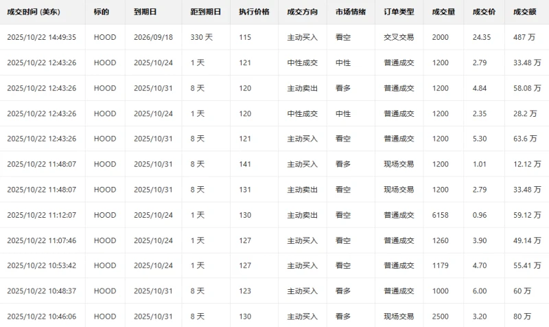
2. Robinhood fell 3.5% in the previous trading day. The put/call ratio rose slightly the day before, and trading volume increased, indicating a relatively balanced market between buyers and sellers.
Observing the put orders expiring this Friday, the highest increase reached 5 times.

Observing the large orders with unusual activity in options trading, it appears that large investors are shorting the market.

Top 10 US Stock Options Trading Volume Ranking

Top 10 US Stocks by Implied Volatility (Underlying Asset Market Cap > $10 Billion, Options Trading Volume > $100,000)

III. Top Ten US Stock ETF Options Trading Volume Ranking

Top 10 US Stock ETFs by Implied Volatility (Based on: Market Cap > $10 billion)

(Article source: Hafu Securities) )