I. Overview of US Stock Index Options
Trading volume in the US stock index options market has increased slightly, while the put/call ratio has declined slightly, indicating that bullish forces have somewhat withdrawn.
The volume distribution of S&P 500 index options expiring today shows a divergence between call and put order distributions, with put orders peaking at 6810 points and call orders peaking at 6875 points.
Nasdaq contracts expiring today 100 Index Options Trading Volume Distribution: Call single peak at 25530, Put single peak at 25100.
II. US Stock Options Trading Volume Ranking
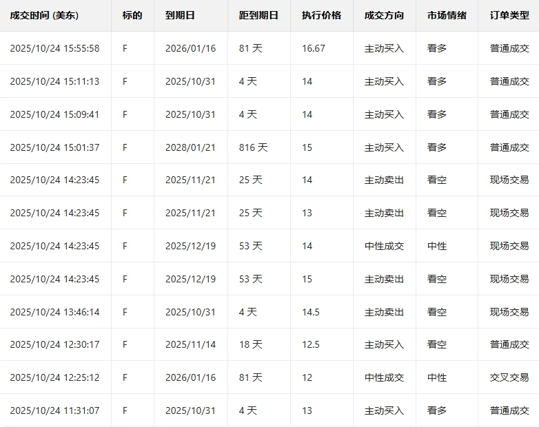
1. Ford Motor Company The stock rose 12.16% in the previous trading day. The put/call ratio dropped sharply the day before, and trading volume increased, indicating strong bullish momentum.
Looking at the call orders expiring this Friday, many have seen price increases of over 3 times.

Observe the large orders with unusual activity in options trading; near the close of the market, large investors are mainly bullish.

In terms of news, Ford Motor Company's (F) adjusted EBIT guidance for 2025 has attracted widespread attention from investors, but Bank of America... Securities Analysts said in a report on Friday that its core business was “strong,” outperforming fourth-quarter expectations by $1 billion.
2. Advanced Micro Devices (AMD) rose 7.63% in the previous trading day. The put/call ratio rose slightly the day before, and trading volume increased, indicating intense competition between bulls and bears.
Looking at the call orders expiring this Friday, many have seen price increases of over 3 times.

Observe the large orders with unusual activity in options trading; near the close of the market, major investors are mainly bullish.

Top 10 US Stock Options Trading Volume Ranking

Top 10 US Stock Options Volatility Rankings

III. Top Ten US Stock ETF Options Trading Volume Ranking

Top 10 US Stock ETFs by Implied Volatility (Based on: Market Cap > $10 billion)

(Article source: Hafu Securities )