I. Overview of US Stock Index Options
The current trading volume in the US stock index options market is rising, the put/call ratio is increasing, and short sellers are continuing to increase their positions.
The volume distribution of S&P 500 index options expiring today shows a divergence between call and put order distributions, with put orders peaking at 6700 points and call orders peaking at 6800 points.
Nasdaq contracts expiring today 100 Index Options Trading Volume Distribution: Call single peak at 25300, Put single peak at 25000.
II. US Stock Options Trading Volume Ranking
1. Tesla The stock fell 3.68% in the previous trading day. The put/call ratio rose slightly the day before, and trading volume also increased slightly.
Observe the large orders with unusual activity in options trading; near the close of the market, major investors are mainly bullish.

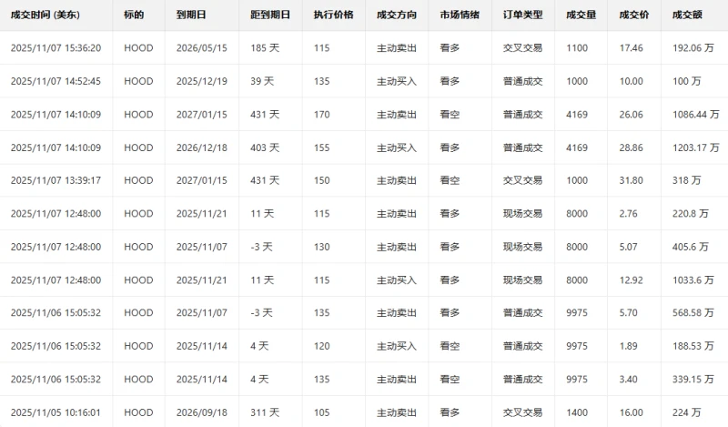
2. Robinhood rose 2.58% in the previous trading day. The put/call ratio rose slightly the day before, while trading volume declined slightly.
Observe the large orders with unusual activity in options trading; near the close of the market, major investors are mainly bullish.

Top 10 US Stock Options Trading Volume Ranking

Top 10 US Stocks by Implied Volatility (Underlying Asset Market Cap > $10 Billion, Options Trading Volume > $100,000)

III. Top Ten US Stock ETF Options Trading Volume Ranking

Top 10 US Stock ETFs by Implied Volatility (Based on: Market Cap > $10 billion)

(Article source: Hafu Securities) )